Dan Ferrell writes about do-it-yourself car maintenance and repair. He has certifications in automation and control technology.

When you notice your car idling low, suspect three common sources of trouble:
On most vehicle models, you can check these suspect systems or components using a few common tools.
The following sections give you a brief description of the potential problem a component may be causing and a simple troubleshooting procedure you may use to diagnose the problem at home.
It’s a good idea to have the vehicle repair manual for your particular model handy. That way you can locate components, verify specifications, and do tests for your particular model.
If you don’t have this manual yet, you can buy one through Amazon. Haynes manuals come with step-by-step procedures for many maintenance, troubleshooting and replacement parts projects you can do at home. The manual is relatively inexpensive, and you can recoup your small investment during your first diagnostic or maintenance project.
| Index |
|---|
1. Faulty idle air control (IAC) valve |
Video: Dirty IAC Causing Low Idle |
2. Check the throttle position sensor (TPS) |
3. A faulty engine coolant temperature (ECT) sensor |
4. Vacuum leaks |
5. Ignition system problems |
6. Dirty throttle bore and blade |
7. Electronic throttle system issues |
8. Fuel System Restricted |
9. Carburetor problems |
10. Can I adjust idle speed? |

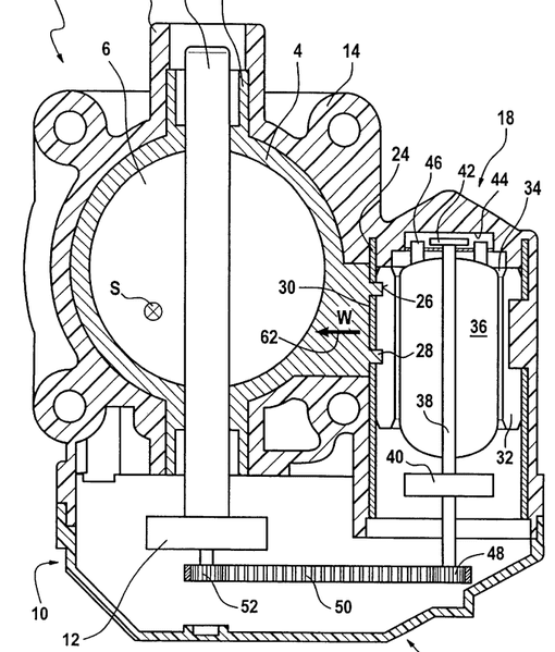
The IAC is the main component the vehicle computer uses to control idle speed on most fuel injected models. This valve, mounted around the throttle body, controls the amount of air that bypasses the throttle plates or airflow sensor at idle.
A scan tool can be useful in checking the operation of the IAC valve. However, you can still test the valve using a digital multimeter (DMM).
Two of the most common problems affecting an IAC valve are carbon buildup in the bypass port and internal motor circuitry faults that may hinder its operation or render the IAC motor inoperative.
The IAC is readily accessible and easy to detach from the engine for inspection on most vehicle models.
If necessary, troubleshoot the IAC motor using your DMM.
Usually, the on-board diagnostic (OBD-II) system on 1996 and newer vehicles models will set a diagnostic trouble code (DTC) when a bad IAC valve is detected. So scan the computer for these and other DTCs that may indicate a problem with a sensor or system.
The next video shows you how cleaning the IAC motor solves a low idle issue.

Although the IAC valve is one of the most common sources of idle trouble, problems with other components like the TPS can also affect idle stability.
The TPS measures throttle opening rate and sends the corresponding voltage signal to the computer. But a TPS, like other components, can fail after miles of trouble-free operation.
If the TPS sends the computer a higher then normal signal at idle, the computer will command the IAC valve to close, thinking the throttle has been opened. This can have the same effect as a faulty or clogged IAC valve.
On most vehicle models, diagnosing a faulty TPS is not difficult. And, often, the device is also accessible. You can troubleshoot a TPS using a DMM.

The car’s computer relies on the ECT sensor signal to know the engine’s operating temperature. The sensor helps the computer decide when to enrich or lean the air-fuel mixture, depending on engine temperature.
Just like a bad throttle sensor, a faulty ECT can send a high voltage signal when a low signal is needed, causing the computer to close the IAC valve and lower idle rpm.
Testing an ECT sensor is pretty straightforward task in most vehicle models. You can troubleshoot the ECT using a DMM as well. Compare your resistance value readings with the specifications table in your vehicle repair manual.

Vacuum leaks cause different symptoms, including low idle problems from the unmetered air entering the engine. But trying to find the leak source can be difficult at times.
Still, you can use some strategies, common tools, and a hand-held vacuum pump to help you locate vacuum leaks.
Vacuum leaks may come from torn intake manifold gasket or a component hooked to a loose or damaged vacuum hose or gasket.
Pay special attention to the intake manifold gasket and vacuum hoses. Hoses, specially, may deteriorate, become loose or develop tears over time.
To locate the leak:
If necessary, this other post can help locate vacuum leaks.

A strong, healthy spark is necessary to properly burn the air fuel mixture in the combustion chamber. A weak or no spark in one cylinder can cause a low or rough idle.
Check the ignition system and make sure you got a good spark in each cylinder.
A number of issues may cause a weak spark:
If your engine has a single cylinder or random misfire, fix the problem as soon as possible to avoid further performance issues. A misfire may lead to catalytic converter damage from the amount of unburned fuel going into the exhaust system.
If necessary, consult your vehicle repair manual.

On fuel injected models equipped with a throttle body, dirt and carbon buildup accumulates around the bore and under the throttle blade.
You can remove deposits using carburetor cleaner.
After getting access to the throttle body:
If necessary, consult your vehicle repair manual.

On modern vehicles with electronic throttle systems, idle speed is not adjustable. However, you still can monitor idle speed with a scan tool to confirm proper operation of the throttle system.
If you don’t have a scan tool, make sure the following systems are running properly. If you spot a problem, you may have found the source of the low-idle issue:
Also, you may need to do an idle learn procedure to restore proper idle speed. The learn procedure provides the powertrain control module (PCM) with a base idle reading to control idle speed. Consult your vehicle repair manual for the learn procedure for your specific application.

Sometimes, a restriction in the fuel system can also lead to a low idle. Often, a restricted fuel injector or fuel filter is the reason behind the restriction.
Consult your vehicle repair manual, if you need to check the fuel system in your car.

On older vehicles equipped with a carburetor, the idle system supplies the engine with an air-fuel mixture suitable for speeds at about 800 rpm.
If your car is experiencing low-idle issues, you may need to adjust the idle speed and idle mixture. Some models come equipped with an idle speed control actuator. Consult your vehicle repair manual for the correct adjustments for your application.
However, low or rough idling can also come from other potential problems. Depending on your particular model, you may be dealing with one or more of the following issues:
Problems in other systems may also cause idle speed to drop, like:

Unless you have a carbureted engine, you may not be able to adjust idle speed. On modern vehicles, the PCM, the computer in your vehicle, adjusts idle speed automatically.
Still, some models may provide a few adjustable settings you can check. Take a look at the decal in your engine compartment or the vehicle repair manual to see what provisions exists for you to adjust idle speed for your specific model.
Most of the time, though, you need to check one or more of the systems described in the previous sections to find out what may be preventing the PCM to adjust idle speed.
If your check engine light is lit, start there. The computer may have detected a malfunctioning sensor that may have led to your car idling low. If you don’t have a code reader or scanner tool, you can take your car to your local auto parts store. Most of these stores now retrieve DTCs for car owners as a free service.
If you find any stored DTCs, troubleshoot the indicated components as necessary before replacing any parts. Remember that your computer only points to systems or components where a fault was detected, not necessarily the faulty system or component. A related device in one other system may be the cause for the odd inputs the computer detected. This strategy will prevent you from replacing components in good working order and much frustration.
As necessary, consult your vehicle repair manual.
This content is accurate and true to the best of the author’s knowledge and is not meant to substitute for formal and individualized advice from a qualified professional.